常見設備
1、混凝土攤鋪機
2、混凝土路面填縫機
3、混凝土路面切縫機
4、混凝土路面脫水裝置
5、混凝土路面抹光機
6、混凝土路面振動梁
7、混凝土路緣成型機
8、混凝土邊溝成型機
9、混凝土拉毛機
1.滑模式水泥混凝土攤鋪機用途與分類
在給定攤鋪寬度 (或高度 )上,能將新拌水泥混凝土混合料進行布料、計量、振動密實和滑動模板成型并抹光,從而形成路面或水平構造物的處理加工機械統稱為滑模式水泥混凝土攤鋪機。

圖9-16 滑模式水泥混凝土攤鋪機
(一)滑模式水泥混凝土攤鋪機的分類
按功能和用途分類
(1)路面滑模攤鋪機用于市政道路、公路、航空港、碼頭、車站、競賽場、停車場和橋面施工。
(2)路緣滑模攤鋪機主要用于路緣石的修筑,還可用于道路中間和公園里的花池圍墻的建筑等。
(3)隔離帶滑模攤鋪機可用來修筑公路中間隔離帶、低擋土墻、隔音和消音設施等公路附屬物。
(4)溝渠滑模攤鋪機用來修筑公路排水溝、邊坡、水渠和排污設施等。
按行走方式和行走裝置的形式分類
(1)履帶式滑模水泥混凝土攤鋪機攤鋪機行走機構采用履帶裝置,是最常用的一種行走方式。按履帶數目又分為四履帶、三履帶和兩履帶滑模攤鋪機。
中小型滑模式水泥混凝土攤鋪機以兩履帶為主,一般采用四立柱雙履帶行走機構。它在結構上和四履帶攤鋪機大同小異,比較適合我國目前一般工程規模不大的使用場合。
大型滑模式水泥混凝土攤鋪機以四履帶為主,通常其發動機功率在 250kW以上,作業寬度可達 15m,作業厚度可達500mm。其生產能力很大,每小時可攤鋪混凝土 540 --2100m3,它的每條履帶均可繞其支腿與機架的鉸接點水平擺動一定角度,以改變寬度尺寸。它適用于雙車道或三車道全幅施工、規模較大的路面鋪筑工程。
三履帶滑模式水泥混凝土攤鋪機是機動性很強的多功能攤鋪機。它的 3條履帶也可以繞其支腿和機架的鉸接點擺動一定角度,且支腿高度可以獨立調整,能夠滿足鋪筑各種交通設施的施工要求。它附帶有各種結構形式的滑動成型模板,可以隨機更換,完成路緣石、邊溝水槽、中央隔離帶、人行道等多種混凝土結構的鋪筑作業。三履帶容易適應于 “零隙 ”或“小隙 ”攤鋪,所以零隙滑模攤鋪機均采用三履帶。

圖9-17 三履帶滑模式水泥混凝土攤鋪機
(2)輪式滑模式水泥混凝土攤鋪機
由于滑模攤鋪要求較好的機器地面附著和承載性能,因而,大多數滑模攤鋪機采用履帶行走機構。四輪式滑模攤鋪機多用于簡易式的機場滑模攤鋪。
按主機架形式分類
(1)箱型框架伸縮式滑模水泥混凝土攤鋪機
以兩履帶滑模式水泥混凝土攤鋪機為常見(圖9-18),攤鋪機主機架橫向采用類似于汽車起重機起吊臂結構梁形式,與箱型端梁形成封閉性矩形框架。該框架在可調寬度范圍內可以伸縮成任意寬度以適應攤鋪寬度的調整。大多數滑模攤鋪機主機架采用這種結構。


圖9-18 兩履帶滑模式水泥混凝土攤鋪機
1-找平和轉向自動控制系統;2-主柱浮動支撐系統;3-工作裝置;4-動力裝置;5-傳動裝置;6-輔助裝置;7-機架;8-行走及轉向裝置;9-電液控制和操縱裝置
(2)桁架型滑模式水泥混凝土攤鋪機
桁架型滑模攤鋪機也采用履帶行走方式,自帶隨機器滑動的成型模板。但它的機架結構采用可拼裝的桁架式結構,可以在較大范圍內加長和減短,適宜于攤鋪面積較大的混凝土設施,如圖 7-41所示。

圖9-19 桁架型滑模式水泥混凝土攤鋪機
1-履帶;2-控制箱;3-滑模板;4-作業機構;5-機架
2.結構與工作原理
由于滑模攤鋪機的類型較多,所以它的組成部分也是各種各樣的。但無論哪一種滑模攤鋪機,它最基本的組成部分包括:動力系統11、傳動系統12、行走轉向裝置6、攤鋪裝置5、機架 3和9、浮動支腿1、自動轉向系統7、自動找平系統8、操作臺 4和一些輔助裝置 (橫向拉桿打入裝置、橫向拉桿中央打入裝置、噴灑水系統、照明系統等)。

圖9-20 四履帶滑模式水泥混凝土攤鋪機
1-浮動支腿;2-噴灑水系統;3-固定機架;4-操作控制臺;5-攤鋪裝置;6-行走轉向裝置;7-自動轉向系統;8-自動找平系統; 9-伸縮機架;10-人行通道;11-動力系統;12-傳動系統
(1)動力裝置動力裝置一般由發動機和分動箱組成。早期的滑模式攤鋪機曾使用汽油機作動力,目前,均采用柴油機,且以四沖程柴油機為主。分動箱以 3 ~4個輸出軸的為多,多聯泵可減小輸出
軸數量,傳動方式為定軸齒輪式。
(2)傳動裝置
目前均采用液壓傳動裝置。主要用來將動力傳給地面行走系統、各個工作裝置、伸縮升降機構以及液壓控制元件。
(3)地面行走系統行走系統大多采用液壓驅動履帶式,以變量泵定量馬達為主。在液壓馬達后面設計有高
傳動比的行星減速裝置。四輪一帶與履帶式工程機械通用。履帶板為無刺履帶板,以增加攤鋪機行走時的平順性,且轉移時可在路面上行駛。小型滑模攤鋪機以兩履帶為主,大型的滑模攤鋪機以四履帶為主。無隙或小隙滑模攤鋪機、路緣滑模攤鋪機、隔離帶滑模攤鋪機以及溝渠滑模攤鋪機多數采用三履帶。兩履帶滑模攤鋪機的轉向方式為差速轉向,三履帶和四履帶滑模攤鋪機大多采用偏轉履帶方式進行轉向。轉向可以手動或自動控制。
個別形式的滑模攤鋪機行走系統采用液壓驅動車輪方式。小型的路緣石滑模攤鋪機就是采用車輪行走。車輪對路面不會帶來損傷或破壞,但履帶對于不平路基具有濾波和二次找平功能。而輪胎彈性變形隨負載變化以及輪胎對路基不平度感應比履帶敏感,并且滑模攤鋪機對找平精度要求較高。因此,絕大多數滑模攤鋪機采用履帶行走裝置。
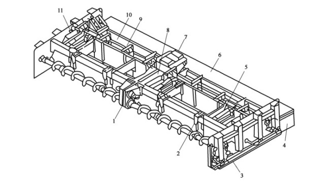
(4)攤鋪裝置
攤鋪裝置由幾個完成不同功能的部件組合而成。主要有 :螺旋分料裝置1、計量裝置2、側模裝置3、修邊器4、內部振搗裝置5、抹光裝置6、拱度調節裝置7、中間支梁8、外部振搗裝置9、成型裝置 10和兩端支梁 11等組成,如圖9-21所示。

圖9-21 攤鋪裝置
1-螺旋分料裝置;2-計量裝置;3-側模裝置;4-修邊器;5-內部振搗裝置;6-定型抹光裝置;7-拱度調節設置;8-中間支梁; 9-外部振搗裝置;10-成型裝置;11-兩端支梁
各工作裝置具有對混凝土不同的加工功能。螺旋分料裝置 1是將傾倒在機器前的水泥混凝土混合料沿所要攤鋪路面的寬度均勻地攤開 ;計量裝置 2將水泥混凝土刮平,使其具有合理的厚度以滿足進入成型裝置的要求 ;內部振搗裝置 5對水泥混凝土混合料進行密實 ;外部振搗 裝置 9主要經過夯板的上、下捶打動作,使大骨料下沉,在面層出現砂漿和細小骨料,以利于成型裝置和左、右側模將水泥混凝土混合料擠壓成型 ;成型裝置 10和左、右側模裝置 3主要將水泥混凝土混合料擠壓成設計的路面 ;定型抹光裝置 6對成型后的水泥混凝土路面進一步進行整型抹光、抹平;左、右修邊器 4主要對路面的邊角進行修整 ;安放傳力桿裝置是將路面橫向接縫的傳力桿進行機械化安放 ;拉桿打入裝置依照一定的間隔,將拉桿打入水泥混凝土路面之內 ;調拱裝置 7主要調節成型裝置、定型抹光裝置的拱度,使所攤鋪的路面拱度符合設計要求。
各種機型的滑模攤鋪機攤鋪裝置的工作原理基本上相同。主要區別在加工處理工序和螺旋分料裝置、定型裝置、定型抹光裝置、調拱裝置及外部振搗裝置的具體結構或驅動方式上。
(5)支柱浮動支撐系統
支柱浮動支撐系統的作用是連接車架和行走系統,并支撐車架及車架上安裝的動力裝置、傳動裝置、工作裝置和輔助裝置等。它由四個厚壁圓筒兩兩列于兩側履帶或車輪的支架上。圓筒內有液壓缸,缸兩端的鉸耳分別與履帶或車輪支架和車架相連。厚壁圓筒起導向作用。液壓缸用于車架和工作裝置的升降,且液壓缸由電液控制系統的手動開關控制,也可由調平傳感器通過電液控制閥控制。
3.主要參數
滑模式水泥混凝土攤鋪機的主要參數滑模攤鋪機的主要參數包括攤鋪寬度、攤鋪厚度 (高度)、運行速度、發動機功率、技術生 產率和使用生產率、機器質量及整機外形尺寸等。 |