柴油打樁錘是利用柴油錘的沖擊力將樁打入地下,柴油打樁錘實質上是一個單缸二沖程發動機。利用柴油在汽缸內燃燒爆發而做功。推動活塞在汽缸內往復運動來進行錘擊打樁,柴油打樁錘和樁架合在一起稱為柴油打樁機。
1.分類
柴油打樁錘分為筒式柴油打樁錘和導桿式柴油打樁錘兩種。

a.筒式柴油錘 b.導桿式柴油錘
圖2-5 柴油打樁錘
2.打樁機構造
(1)筒式柴油打樁錘
1)構造
筒式柴油打樁錘依靠活塞上下跳動來錘擊樁,構造如圖2-6所示。它由錘體、燃料供給系統、潤滑系統、冷卻系統和起動系統等構成。

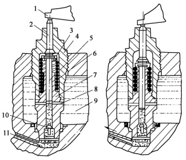
圖2-6 D72型筒式柴油錘構造
1-上活塞;2-燃油泵;3-活塞環;4-外端環;5-緩沖墊;6-橡膠環導向;7-燃油進口;8-燃油箱;9-燃油排放旋塞;10-燃油閥; 11-上活塞保險螺栓;12-冷卻水箱;13-燃油和潤滑油泵;14-下活塞;15-燃油進口;16-上汽缸;17-導向缸;18-潤滑油閥; 19-起落架;20-導向卡;21-下汽缸;22-下汽缸導向卡爪;23-銅套;24-下活塞保險卡;25-頂蓋
2)工作原理
筒式柴油樁錘是特殊的二沖程發動機,工作原理為:柴油錘啟動時,由樁架卷揚機將起落架吊升,起落架鉤住上活塞提升到一定高度,吊鉤碰到碰塊,上活塞脫離起落架,靠自重落下,柴油錘即可起動。筒式柴油錘的工作原理及其循環參看(圖2-7)。

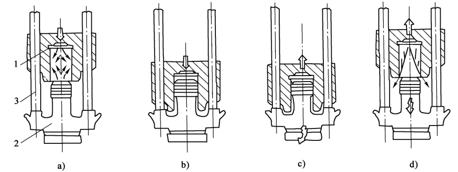
a)噴油;b)壓縮;c)沖擊、霧化;d)燃爆;e)排氣;f)吸氣;g)降落
1-汽缸;2-上活塞;3-燃油泵;4-下活塞
圖2-7 筒式柴油錘工作原理
a.噴油過程:上活塞被起落架吊起,新鮮空氣進入汽缸,燃油泵進行吸油。上活塞提升到一定高度后自動脫鉤掉落,上活塞下降。當下降的活塞碰到油泵的壓油曲臂時,把一定量的燃油噴入下活塞的凹面。
b.壓縮過程:上活塞繼續下降 ,吸、排氣口被上活塞擋住而關閉 ,汽缸內的空氣被壓縮 ,空氣的壓力和溫度均升高 ,為燃燒爆發創造條件。
c.沖擊、霧化過程:當上活塞快與下活塞相撞時 ,燃燒室內的氣壓迅速增大。當上、下活塞碰撞時 ,下活塞沖擊面的燃油受到沖擊而霧化。上、下活塞撞擊產生強大的沖擊力,大約有50%的沖擊機械能傳遞給下活塞,通過樁帽,使樁下沉。被稱為“第一次打擊”。
d.燃燒過程:霧化后的混合氣體,由于受高溫和高壓的作用,立刻燃燒爆炸,產生巨大的能量。通過下活塞對樁再次沖擊 (即第二打擊),同時使上活塞跳起。
e.排氣過程:上跳的活塞通過排氣口后 ,燃燒過的廢氣便從排氣口排出。上活塞上升越過燃油泵的壓油曲臂后,曲臂在彈簧作用下,回復到原位;同時吸入一定量的燃油,為下次噴油作準備。
f.吸氣過程:上活塞在慣性作用下,繼續上升,這時汽缸內產生負壓,新鮮空氣被吸入汽缸內。活塞跳得越高,所吸入的新鮮空氣越多。
g.掃氣過程:上活塞的動能全部轉化為勢能后,又再次下降,一部分新鮮空氣與殘余廢氣的混合氣由排氣口排出直至重復噴油過程,柴油錘便周而復始地工作。
(2)導桿式柴油打樁錘
導桿式柴油打樁錘和筒式柴油打樁錘的不同是導桿式用汽缸為錘擊部分,做升降運動。而筒式柴油錘則以上活塞作錘擊部分;導桿式柴油打樁錘的燃油用高壓霧化,筒式柴油打樁錘則用沖擊霧化;導桿式柴油打樁錘打擊能量比筒式錘小。但結構簡單,操作方便,一般用于小型輕質樁的施工。
1)構造
導桿式柴油打樁錘(圖2-8) :由1-頂部橫梁;2-起落架;3-導桿;4-缸錘;5-噴油嘴; 6-活塞;7-曲臂;8-油門調整桿;9-燃油系統;10-樁帽;11-基座;12-撞擊銷;13-燃燒室等組成。
2)工作原理
導桿式柴油錘的工作原理基本上相似于二沖程柴油發動機。工作時卷揚機將汽缸提起掛在頂橫梁上。拉動脫鉤杠桿的繩子,掛鉤自動脫鉤,汽缸沿導桿下落,套住活塞后 ,壓縮汽缸內的氣體,氣體溫度迅速上升。當壓縮到一定程度時 ,固定在汽缸的撞擊銷 12推動曲臂7旋轉,推動燃油泵柱塞,使燃油從噴油嘴5噴到燃燒室(圖2-9)。呈霧狀的燃油與燃燒室內的高壓高溫氣體混合 ,立刻自燃爆炸,另一方面將活塞下壓,打擊樁下沉 ,一方面使汽缸跳起 ,當汽缸完全脫離活塞后 ,廢氣排除 ,同時進入新鮮空氣。當汽缸再次下落時 ,一個新的工作循環開始(圖2-10)。

圖2-8 導桿式柴油打樁錘構造圖
1-頂部橫梁;2-起落架;3-導桿;4-缸錘;5-噴油嘴; 6-活塞;7-曲臂;8-油門調整桿;9-燃油系統;10-樁帽;11-基座;12-撞擊銷;13-燃燒室

圖2-9 燃油泵的構造和工作原理示意圖
1-曲臂;2-頂桿;3-彈簧座;4-彈簧套;5-柱塞;6-柱塞彈簧;7-泵體;8-吸油口;9-燃油箱;10-單向閥;11-出油道

a) 壓縮;b)供油;c)燃燒;d)排氣、吸氣
1-缸錘 (汽缸 );2-活塞;3-導桿
圖2-10 導桿式柴油打樁錘的工作原理
(3)主要技術性能
筒式柴油打樁錘和導桿式柴油打樁錘的性能見表2-2。
表2-2 柴油打樁錘的性能

3.常見設備
1、筒式柴油打樁錘
2、導桿式柴油打樁錘
|